
1:55
We’re kicking things off in June with a new Onshape release, this time with a big focus on drawings. Let’s take a look!
GENERAL IMPROVEMENTS
CHANGE THE LOCATION OF A DOCUMENT FROM WITHIN THE DOCUMENT
To move an entire Onshape Document to another project or folder, it is now also possible to do this directly in a Document without leaving the Document.
HELP DOCUMENTATION REDESIGN AND IMPROVEMENTS
We have completely redesigned the Help documentation to give it a more modern look and feel. We also have a Glossary if you would like to explore a list of Onshape terms and their definitions. Furthermore, we have now added more links to the Learning Center, Helpful Tips, Warning messages and Troubleshooting messages to help you work through issues. Check out the new Help menu here.

DRAWING IMPROVEMENTS
SECTION VIEW ON AN AUXILIARY VIEW
In order to better display more complex geometries on drawings more easily, there is now the possibility to create section views of auxiliary views.
SHOW/HIDE INDIVIDUAL SEGMENTS IN A DRAWING VIEW
To hide or show certain edges in a drawing view, there is a new option “Show/hide Edges” in the View Context menu. This serves to display complex geometries more clearly in order to avoid errors or misunderstandings. After the edges have been hidden, they can be shown again by deselecting them. This also works for inserted sketches on a drawing.
SECTION VIEW WITH A SPECIFIED CUTTING LINE ANGLE
Instead of selecting two points in a drawing view to create an intersection line, there is now the option to define a specified angle under which the cutting line is created.
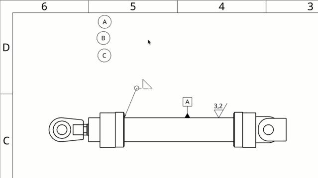
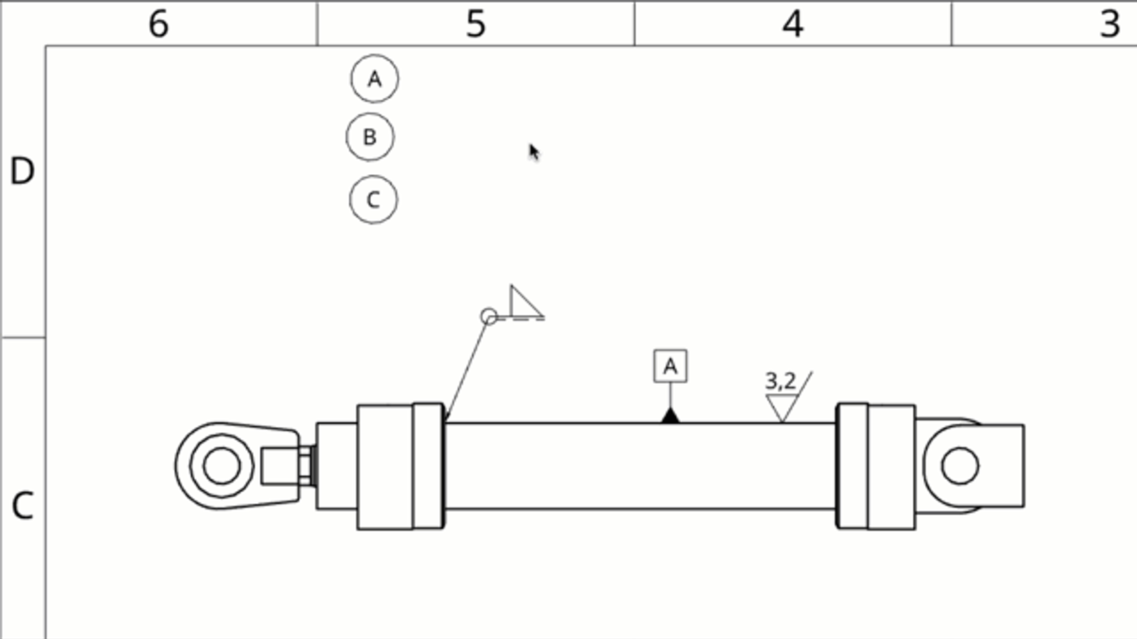
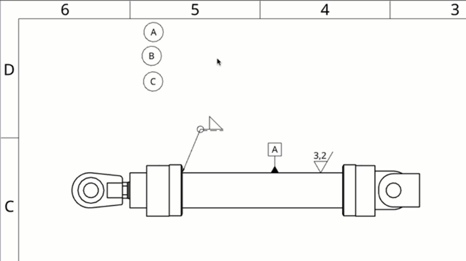
GROUPING OF CALLOUTS IMPROVEMENTS
Callouts can now easily be grouped with surface finish symbols, datums and weld symbols. Simply drag and drop the callout to group it or select the objects you want to group and select in the Context menu "Group annotation."

Please take a moment to try out these new features and improvements and leave your comments below. For a detailed list of all the changes in this update, please see the changelog.
Remember: The updates listed here are now live for all users when creating new Onshape Documents and over the next few days these features will also be available in Documents created before the date of this update.
Latest Content

- Blog
- Evaluating Onshape
- Collaboration
How Onshape Fixes the Broken Promise of Model-Based Definition
02.26.2026 learn more
- Blog
- Customers & Case Studies
- Automotive & Transportation
Powering Heavy-Duty Innovation: How Edison Motors Builds Next-Gen Hybrid Trucks with Onshape
02.26.2026 learn more
- Blog
- Evaluating Onshape
- Education
- Education & Universities
Future-Proof Engineering Education with Model-Based Definition in Onshape
02.24.2026 learn more



